• 头条长沙供电公司专家提出电网侧储能电站监控信息接入验收的管控方法
    2021-11-29 作者:李琳 秦泽宇 等  |  来源:《电气技术》  |  点击率:
    分享到:
    导语电网侧电池储能电站参照无人值班的公用变电站(公变)要求,在接入集中监控中心或调度主站自动化系统前,需组织进行监控信息接入验收。 国网湖南省电力有限公司长沙供电分公司的研究人员李琳、秦泽宇、刘啸,在2021年第7期《电气技术》上撰文,针对储能电站监控范围、信号取点要求、验收准备、验收方法等要求,全方位探讨如何规范开展监控信息接入验收管控,提出按照“分级分类取点、模块化加工、自动验收装置全验+人工抽验组合验收”的方法应对储能电站设备特殊、信息量大的特点,进行系统的监控信息接入验收管控的方法。 该方法基于分级监控要求,综合考虑储能电站模块化特点,采用监控信息自动验收技术,对规范储能电站并网监控信息验收、提升验收效率有明显作用。某地区第一座储能电站采用所提的管控方法后,接入验收管理工作有序开展,验收效率大幅提升。

    储能系统能够为电网运行提供调峰、调频、备用、黑起动、需求响应支撑等多种服务,是提升传统电力系统灵活性、经济性和安全性的重要手段,是有效推动电力体制改革和促进能源新业态发展的核心基础。国内电网侧大型储能电站从2009年第一座深圳宝清储能电站开始,到2018年江苏、河南、湖南等地大规模兴建,发展迅猛。作为新生事物,对电力调度、运维检修、施工调试等带来极大挑战。

    当前大型储能电站正逐步由有人值班向无人值守、集中监控模式发展。按照无人值班变电站实施集中监控的基本要求和技术条件,储能电站在实施无人值守前,需按照《变电站集中监控验收技术导则》对反映储能电站一、二次设备运行状况的监控信息进行审核、接入与验收,当前并无相关监控信息接入管理方案可以分析借鉴。

    有研究者对比分析了当前储能站内三种主流储能监控系统架构的技术特点,提出储能电站协调控制解决方案,但是侧重站内信息监控和协同控制,并未涉及远方监控。有研究者根据储能系统的典型结构及监控需求,给出电站监控系统的架构和建设模式,分析了监控系统的应用功能,但是并未提及如何实现远方监控。有研究者分析了储能电站由大量的遥测遥信数据组成,分析了数据特点及如何保证可靠性,但是并未分析如何优化上送远方数据进行远方监控信息接入验收。

    本文针对储能电站监控信息量大和模块化的特点,提出按照“分级分类取点、模块化加工、自动验收装置全验+人工抽验组合验收”的方法将监控信息接入管控。从储能电站远方监控范围、监控信息取点要求、监控主站接入准备、监控信息验收方法等角度层层深入,系统分析监控信息接入管理内容和管控要点,并以某地区第一座储能电站监控信息接入管理为例,探讨储能电站监控信息审核与验收管理。

    1 储能电站组成与监控系统

    1.1 储能电站组成

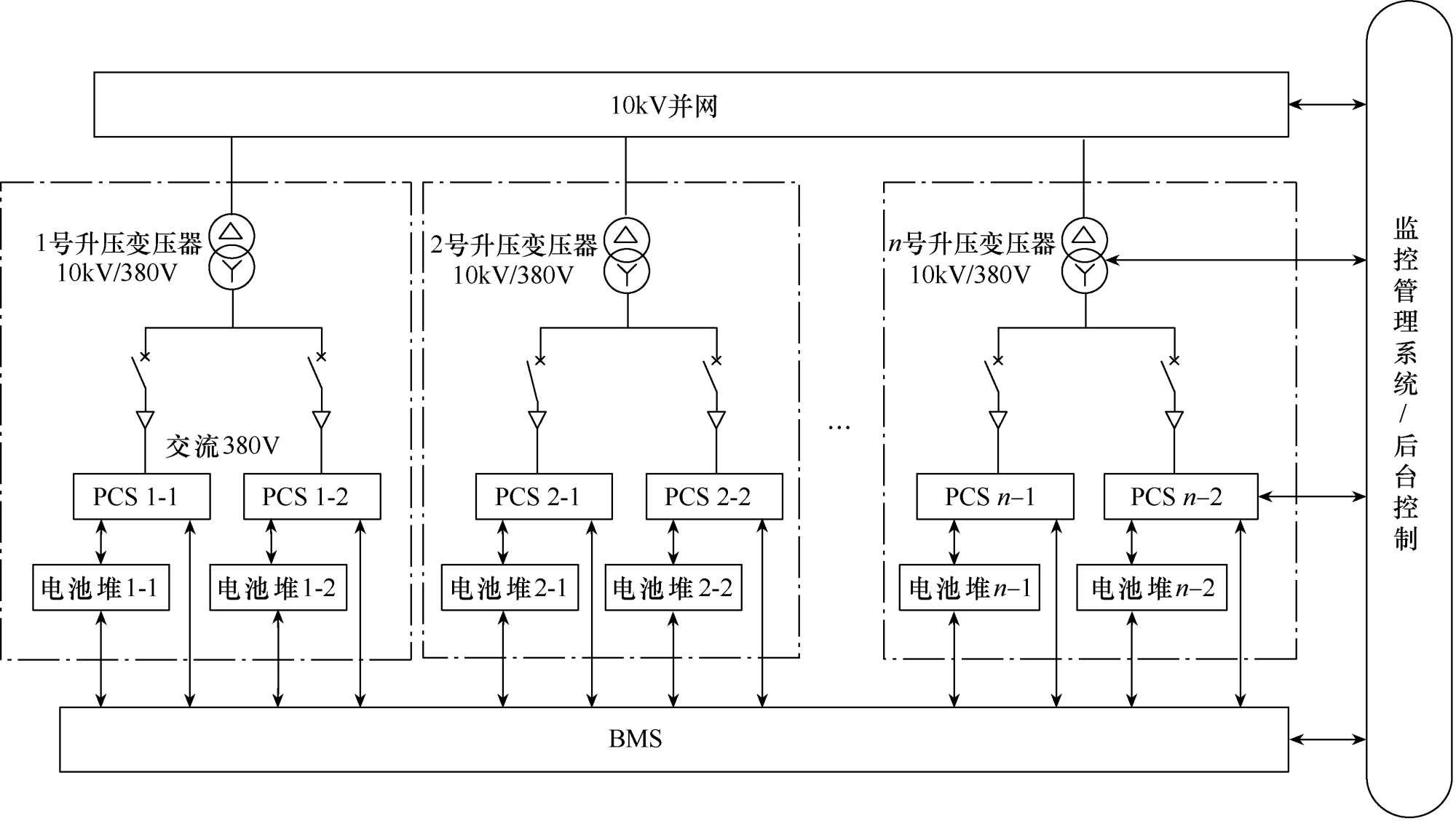
    储能电站主要由电池堆、功率变换系统(power convert system, PCS)、升压变压器、电池管理系统(battery management system, BMS)、能量管理系统(energy management system, EMS)、保护和监控设备等组成。储能电站结构示意图如图1所示,两组电池堆和两组PCS,与一台380V/10kV升压变压器组成一组储能单元。

    EMS主要功能包括整个电池储能电站的数据采集、网络监控、能量调度和网络数据分析等方面。BMS主要是针对电池侧的监测、评估、保护和均衡监测,BMS可全面监测电池的运行状态。PCS主要实现交直流电能的转换,即根据调度指令实现交流变直流(充电)或直流变交流(放电)。

    长沙供电公司专家提出电网侧储能电站监控信息接入验收的管控方法

    图1 储能电站结构示意图

    1.2 储能电站监控系统

    储能电站监控系统(EMS)是整个储能电站的监控、测量、信息交互和调度管理核心,EMS通过局域网和61850协议与各子系统进行连接。EMS能实现数据汇总、信息综合分析统计、调度数据采集与监视控制(supervisory control and data acquisition, SCADA)远传、故障显示及监视、有功无功控制、频率控制等功能。EMS通过与BMS、PCS通信,实时掌握每组储能单元的运行情况,并下发控制指令,实现蓄电池到PCS再到全站设备的逐层监视和控制。

    储能电站按无人值班原则设计,采用两层网络结构的计算机监控系统。站控层设备配置满足储能电站监控系统功能要求,配置监控主机(EMS主机)、数据通信网关机(远动机)、综合应用服务器等;间隔层设备由保护测控装置、BMS、PCS、故障录波装置等组成,完成本间隔设备的就地监视、信息远传等功能。储能电站集中式监控方案示意图如图2所示,它实现了一套EMS监控全站BMS和PCS。

    长沙供电公司专家提出电网侧储能电站监控信息接入验收的管控方法

    图2 储能电站集中式监控方案示意图

    ​2 储能电站监控信息接入要求

    2.1 储能电站远方监控范围

    根据储能电站调度运行管理规范“统一调度、分级管理”的原则,所有并网运行的公用储能电站,其储能设备均属省调调度管辖,影响储能设备充、放电容量的辅助设备或系统属于省调调度管理和许可。

    储能电站按无人值班模式设计,监控信息上送集控中心和地调、省调。根据《储能电站监控信息技术规范》要求,为满足无人值守变电站调控机构远方故障判断、分析处置等集中监控要求,储能电站需采集站内一、二次设备及辅助设备监视和控制信息,并集中上送调度主站EMS。因此,地调监视范围聚焦在10kV电压等级一、二次设备和储能电站公用设备,对于升压变压器及以下PCS、BMS信号,仍以集控中心为主负责巡视和监控,地调辅助监视部分重要信号。

    2.2 储能电站监控信息

    储能电站监控信息的采集按照《变电站调控数据交互规范》、《变电站设备监控信息规范》、《储能系统接入配电网技术规定》等技术规范要求,按信息重要性分类分级。储能电站与常规变电站相比,新增的监控信息主要包括:PCS状态、电池状态信息、消防告警信息等。

    一座典型的24MW/48MW•h磷酸铁锂储能电站由约10万个单体蓄电池串并联组成,其对应的BMS遥测、遥信量约54万条,加上PCS、升压变压器、10kV断路器、站用电和孤岛解列等公用设备信号,全站站内重要监控信息数约2万条,超过5座220kV变电站规模。因此,上送调度端监控信息必须经过信息归并、筛选。

    2.3 储能电站远传取点要求

    储能电站监控信息表,存在遥测数量多、储能单元BMS/PCS信号完全相同、信息分类分级监控等特点。因此,在设计储能电站监控信息点表时,为了便于后续加工验收,监控信息点表制作有以下要求:

    1)分类集中排列。第一类重要信号集中放在遥测、遥信表最前面,第二类全站PCS、BMS整体状态和告警信号集中放在第一类重要信号之后,第三类储能单元组PCS、BMS信号按组集中放在信息表最后。

    2)PCS、BMS遥测、遥信信号按照储能单元的形式分组排列,每组除编号有差别,其他信号内容均一致。

    3)BMS信号按照分级监控要求,按电池堆采集。遥测只采集蓄电池堆的总体信息,如电池组的荷电状态(state of charge, SOC)、电池健康状态(state of health, SOH)、单体电压或温度最高/最低等,遥信对蓄电池堆信号进行分类汇总,如电池组过电压/欠电压/过温/欠温等。

    2.4 监控信息验收方法要求

    一座典型的24MW/48MW•h磷酸铁锂储能电站单站重要监控信息数约2万条,其中大部分为BMS和PCS实时温度、电压等遥测数据,以及控制状态、空调运行情况等遥信信息,集控中心和调度部门如果按照常规方法逐单元遥测加量、逐遥信现场模拟进行验收,整体验收量巨大,而且储能电站很多遥测、遥信信号无法按照常规方法进行遥测加量和遥信模拟触发。因此,储能电站验收需要适合其要求的新方法。

    3 储​能电站监控信息接入管控方法

    储能电站监控信息接入要求明确了监控范围广、监视难度大,由大量单体组合成的电站监控数据信息量大但具有模块化特点,监控信息量大导致后续主站自动化加工量和监控验收工作量均严重超出常规公用变电站规模。本节针对储能电站监控信息量大和模块化的特点,提出按照“分级分类取点、模块化加工、自动验收装置全验+人工抽验组合验收”的方法将监控信息接入管控。

    3.1 监控信息分级分类取点

    储能电站遥测遥信信息采用分级分类取点的方法,可按照电池组进行筛选和分类归并,参照有关文献信息根据重要程度进行分级,按照储能单元再次进行分类归并。

    根据调控中心监视要求,归并后可分为以下三大类信号:第一类是升压变压器以上10kV并网侧一、二次设备和全站控制设备,主要包括断路器和测保装置等常规一、二次设备、频率电压紧急控制装置等安全自动装置、自动电压控制(automatic voltage control, AVC)/自动发电控制(automatic generation control, AGC)/源网荷控制子站等,这是调度监控重点;第二类是全站PCS、BMS总体状态和消防告警等信息,为调度提供储能电站全站基本运行情况,监控根据值班情况进行辅助监视;第三类是按储能单元合并筛选的BMS、PCS状态和告警信息,这类信息数量多、易发信,主要由现场运维人员负责监视。

    上送调度端的监控信息,经过两轮分类归并后,其取点按储能单元进行选取,如PCS遥信选取过电流/过频/欠频/烟感/高温/过载/过电压/欠电压等信号,BMS遥信选取系统汇总的每组蓄电池堆的总体告警信号,如SOC/过电流/过电压/欠电压/过温/欠温/ 绝缘/烟感/事故/告警等合并汇总信号,还对预制舱的空调和环境温度进行重点监视。遥测选取总体状态信息,如全站/蓄电池堆SOC、PCS状态、总充放电量、AGC/AVC目标值、温度、电压等。遥控主要是PCS开停机。

    长沙供电公司专家提出电网侧储能电站监控信息接入验收的管控方法

     

    3.2 监控主站验收前准备

    储能电站实施远方集中监控前,集控中心或调度部门的监控主站系统需要提前加工储能电站监控画面和监控信息。按照常规加工模式,加工工作量繁重,大量遥测手工关联容易出错。根据储能单元为PCS、BMS和升压变压器组成的单元接线形式的模式,可以按照模块化方法进行储能电站监控信息和画面的加工。具体如下:

    1)储能电站主画面总体参照光伏电站绘制,需专门设计PCS、电池组等图元,画面突出展示全站状态控制信息和储能单元状态。

    2)按照储能单元进行定制化设计,要求PCS、BMS、升压变压器等信息固定,只需输入对应储能单元组编号,即可自动生成该组储能单元遥测关联、遥信光字牌,无需人工重复勾选加工。

    3)储能电站按照分级分类监控要求,第一类重要信号和第二类信号进入实时告警窗不间断进行监视,第三类信号在现场有人值班期间可单独设置一个信号责任区,信号不上监控实时告警窗,只用于后续定期统计分析。

    4)设置储能集中监控页面,便于多个储能电站全站信息和状态的集中监控与管理。

    3.3 监控信息验收方法

    储能电站由于遥测遥信量多,且多为BMS、PCS信号,无法按照《变电站集中监控验收技术导则》中常规遥测遥信方法进行验收。经现场调试团队和某地区调控中心深入讨论研究,采取以下验收方法:

    1)根据储能电站信号分级分类监控要求,对常规10kV一、二次设备遥测遥信仍然采用验收导则要求的人工验收方法验收。

    2)对于BMS和PCS遥测量,其遥测验收无法利用继保测试仪模拟加量,可采取并网后再核对蓄电池组实际出力值的方法验收。

    3)对于BMS和PCS遥信量,无法采用常规点二次端子等方法,可采用实际对拖实验、改变阈值触发告警等方法进行站内监控主机的监控信息验收(后台验收),在后台验收时,通信管理机(远动机)出口侧接入自动验收装置进行现场同步验收,验收完成后由自动验收装置与调度主站EMS自动验收模块配合进行自动验收,大大缩短了监控信息验收时间,同时降低了现场为进行监控信息验收反复试验的风险。

    自动验收装置根据储能电站全站系统配置文件(substation configuration description, SCD)(61850规约站点模型配置文件)模拟仿真全站智能电子设备(intelligent electronic device, IED)模型。在经过后台同步验收校验模型后,接入远动机输入侧模拟相关设备发信,与调度主站自动验收模块配合进行遥测遥信的自动验收。通过采用自动验收技术,监控信息验收前提前验证了信号的正确性并进行信号消缺,极大地缩短了现场与调度远方对点时间,同时尽可能保证了BMS和PCS信号的加工正确性。

    ​4 储能电站监控接入验收实例

    4.1 榔梨储能电站整体情况

    榔梨储能电站的建设规模为24MW/48MW•h,全预制舱布置,采用磷酸铁锂蓄电池24MW×2h,包括24个40尺电池集装箱,24个PCS变压集装箱(每个集装箱含2台PCS+1台1 250kV•A变压器),4个40尺10kV集装箱,1个总控集装箱。每段母线接入容量为8MW/16MW•h,通过3回10kV电缆线路分别接至220kV榔梨变10kV侧,其一次接线示意图如图3所示。

    长沙供电公司专家提出电网侧储能电站监控信息接入验收的管控方法

    图3 储能电站一次接线示意图

    4.2 储能电站监控信息选点

    储能电站主要由常规一、二次设备、储能电站控制子站设备和储能单元相关设备等组成。监控信息选点按照满足无人值班站要求选取。

    常规一、二次设备包括:10个10kV断路器和三段10kV母线、一体化站用交直流系统、频率电压紧急控制装置、防孤岛保护装置、智能辅助控制系统等装置。常规设备点按照《变电站监控信息规范》要求选取,作为监控人工验收重点。

    储能电站控制子站设备包括AGC、AVC功能子站、源网荷终端装置等。根据各控制子系统要求进行取点,以满足其控制功能。地调侧重于AVC控制相关信号,省调侧重于AGC和源网荷功能相关信号。

    储能单元相关设备和信号:主要是24组储能单元(含48组蓄电池组、48台变流器单元和24台升压变压器)相关的升压变压器就地监测装置信号、PCS、BMS相关信号。

    最终榔梨储能电站从54万条三遥信号中选取了遥测1 544点、遥信2 188点、遥控71点、遥调5点,合计3 808点。其中BMS和PCS遥测遥信共3 152点、遥控48点。通过这些信号,可以很好地对储能电站运行情况开展远方集中监控。

    4.3 监控信息验收情况

    某地区调控中心按照事先与调试团队商定的验收方法,对储能电站常规一、二次设备525点遥测遥信和10kV断路器遥控按照验收导则要求,采取人工验收方法。验收时,遥测利用继保测试仪模拟加量,遥信实际点端子触发,遥控进行全回路实际遥控操作,总体验收时间约16h。

    对于BMS和PCS遥测量,其遥测验收无法利用继保测试仪模拟加量,采取并网后试验阶段,人工与现场后台核对蓄电池组实际出力的方法。总体核对时间约8h。

    对于BMS和PCS遥信信号,采用自动验收装置验收。在站内进行实际对拖等试验时,进行后台监控信息验收,同时自动验收装置接入远动机出口侧开展现场同步验收,验收完成后由自动验收装置与调度主站D5000系统自动验收模块配合进行遥信自动验收工作。榔梨储能电站1752点遥信,一遍自动验收时间约1h。

    某地区调控中心通过采取人工+自动验收装置组合的验收方法,验收时间控制在3个工作日以内,通过自动验收技术保证了验收质量,相对以往常规验收方法的20个工作日以上的验收时间,验收效率得到大幅提升。

    ​5 结论

    本文针对电网侧储能电站实现远方集中监控前的监控信息接入验收管控方法进行了系统阐述,提出针对储能电站结构组成和监控系统特点,制定储能电站监控范围、监控信息取点、监控信息加工与验收等要求。

    本文提出了储能电站按照分级分类取点、模块化加工、人工+自动验收装置组合验收的方法进行系统监控信息的接入管控,通过典型储能电站实际接入验收过程说明了储能电站监控信息接入验收管理效果明显。该方法对规范后续储能电站并网监控信息验收、提升验收效率有很好的指导作用。

    本文编自2021年第7期《电气技术》,论文标题为“电网侧储能电站监控信息接入验收管控方法研究”,作者为李琳、秦泽宇、刘啸。